Appearance
13.3.2 面积分
13.3.2.1 平面片向量
一般型的面积分 (参见第 692 页 8.3.4.2) 的向量表示要求对一个平面区域

13.3.2.2 面积分的计算
标量场或向量场中一个面积分的计算与曲面
a) 在
b) 在每个面元的内点集或边界上任取一点
c) 在标量场的情形作乘积
d) 取所有这些积之和.
e) 当
如果这个极限的存在与曲面

13.3.2.3 面积分和场流
1. 标量场的向量流
2. 向量场的标量流
3. 向量场的向量流
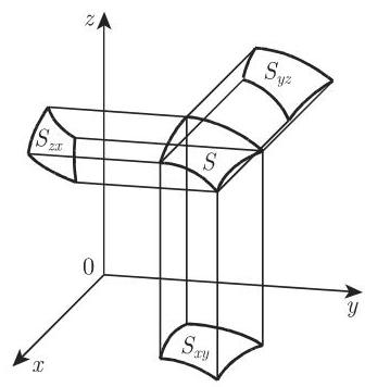
13.3.2.4 笛卡儿坐标系中作为第二型面积分的面积分
类似于第 710 页 8.5.2.1,4. 中的存在性定理, 可以给出关于这些积分的存在性定理. 在上面这些公式中,每个积分被展布在

注 用下列式子表示在闭曲面上的积分:
可以类似地求另两个积分. 结果为: